欢迎访问先锋寰宇旗下的医疗医药健康综合服务平台——医药梦网!
logo
当前位置:首页 > 政策法规 > 通知公告
国家医疗保障局办公室关于推进基本医保基金即时结算改革的通知
2025.01.20来源:国家医疗保障局网站

医保办发〔2025〕1号

各省、自治区、直辖市及新疆生产建设兵团医疗保障局:

  为促进医疗、医保、医药协同发展和治理,健全与“1+3+N”多层次医疗保障体系相适应的医保科学结算体系,进一步优化医保基金支付方式和结算政策,不断提高结算清算效率,积极稳妥推进医保与定点医药机构即时结算,为定点医药机构运行持续注入流动资金,赋能医疗卫生事业和医药产业高质量发展。现就有关工作通知如下。

 一、明确改革目标

  以全国统一的医保信息平台为支撑,在做好医保基金预付的同时,充分考虑定点医药机构需求和能力,2025年全国80%左右统筹地区基本实现即时结算,2026年全国所有统筹地区实现即时结算。

 二、确定结算内容

  (一)基金范围。

  基本医保基金,包括职工医保基金和城乡居民医保基金。鼓励有条件的地方扩大基金范围。

  (二)结算范围。

  定点医药机构发生的医药费用,包括普通门诊、门诊慢特病、住院、生育、药店购药等医药费用。

  (三)结算时限。

  从定点医药机构申报截止次日到医保基金拨付不超过20个工作日。

  (四)结算保障。

  严格落实医保基金预付,同步推进即时结算,及时优化医保信息平台功能模块。不断提高拨付频率,缩短结算周期,可以采取逐笔按比例拨付,也可以拨审分离、同步推进,还可以先拨后审、月度抵扣等。全面实施智能审核,做好按月审核、拒付扣款,严格规范基金支出。积极做好与支付方式衔接,按规定落实数据工作组、意见收集、特例单议、协商谈判等工作机制,减少年度清算压力。

 三、合理安排时间和工作步骤

  (一)试点实施阶段(2025年1-5月)。

  国家医保局确定的试点省市启动实施即时结算,其他省份可自行选择试点。试点省市要细化工作方案,优化结算流程,完善功能模块,强化智能审核。主动与财政部门沟通协调,提前做好资金准备。指导定点医药机构对接信息系统,提高申报拨付效率。

  国家医保局指导试点省市及时调整和完善试点方案,组织经验交流。针对地方反映的突出问题,及时研究推动解决。起草《基本医保基金即时结算经办规程》。

  (二)评估总结阶段(2025年6月)。

  国家医保局组织试点省市交叉学习交流,指导地方加快工作进度,确保按时完成改革任务。召开即时结算试点工作会,组织先进省市交流经验,推广典型经验做法。出台《基本医保基金即时结算经办规程》。

  (三)全面启动阶段(2025年7-12月)。

  全面启动医保基金即时结算工作,80%左右统筹地区基本实现即时结算。

  国家医保局组织各地开展评估,调研地方即时结算工作情况,指导地方及时总结完善。

  (四)全面实现阶段(2026年)。

  巩固提升即时结算工作成果,2026年底前全部实现即时结算。

  国家医保局做好工作指导和调度,及时解决地方反映的问题,全面优化提升改革成效。

 四、选择适宜路径

  各地要结合实际,选择不限于以下三种方式推进即时结算。

  (一)优化传统结算方式,压缩月结算时长。

  最大限度压缩月结算周期,全面压缩医保基金结算清单上传质控、对账、申报、智能审核、请款、拨付等工作时间,审核后5个工作日内完成拨付。

  (二)推进逐笔申报拨付,提高拨付频次。

  将月批量申报拨付,提速至旬、周、日;鼓励逐笔申报、逐笔按比例拨付。在原有月结算、年度清算流程基础上,增加拨付次数。

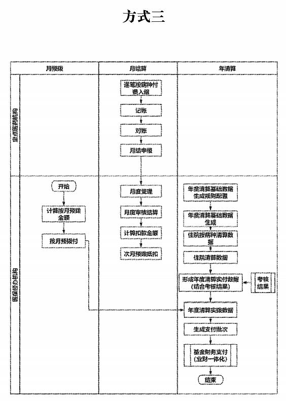
  (三)按月预拨,逐笔入组记账。

  依据当年基金预算、往年月基金支出规模,按月提前拨付医保基金给定点医药机构。逐笔按病种付费入组、记账,同步审核、扣款,绩效考核与年度清算挂钩。

 五、加强工作保障

  (一)提高认识,统一思想。省级医保部门负责落实本省即时结算工作,要加大对试点城市的指导力度,及时优化相关功能模块,积极研究解决试点反馈的问题,对试点城市给予支持。

  (二)组建专班,明确分工。省级医保局成立以省局负责同志牵头的工作专班,结合实际制定详细的时间表、路线图,明确职责分工,加强部门协同,定期组织会商,集中研究解决重点问题。

  (三)加强统筹,协同推进。要狠抓落实,增强改革系统性、整体性、协同性。进一步加强医保系统内部统筹协调,认真梳理医保业务流、资金流、信息流等,全面简化优化流程和操作。充分征求定点医药机构意见,凝聚改革共识,确保协同高效、合力推进。

  (四)健全机制,巩固完善。建立工作联络机制,省级医保部门要加强与国家医保局的日常工作对接和沟通汇报,明确省级联络员,于每月15日前报送即时结算进度和经验做法。建立定期调度机制,国家医保局定期调度各地工作进展,及时总结经验,组织地方开展交流。建立宣传示范机制,各级医保部门要加大宣传力度,形成可推广、可复制模式。建立培训提升机制,各级医保部门要加大培训力度,扩大培训范围,持续提升医保基金结算能力。

  联系人及电话:朱沛东010-89061378

  附件:1、基本医保基金即时结算改革试点名单

  2、即时结算三种方式流程图

国家医疗保障局办公室

2025年1月9日


“医药梦网”微信公众号
更多资讯 敬请关注
“医药梦网”微信公众号
“药城”微信公众号
更多资讯 敬请关注
“药城”微信公众号
[免责声明]本网转载出于传递更多信息之目的,本站文章版权归原作者所有,内容为作者个人观点,本站只提供参考并不构成任何投资及应用建议。如涉及作品内容、版权和其它问题(包括但不限于文字、图片、图表、著作权、商标权、为用户提供的商业信息等),请在30日内与本网联系,我们将在第一时间删除或更正!本站拥有对此声明的最终解释权。
Copyright © 2004-2026  北京先锋寰宇大健康管理有限责任公司
京公网安备 11010802036726号
药品医疗器械网络信息服务备案:(京)网药械信息备字(2022)第00629号 增值电信业务经营许可证:京B2-20192285 京ICP备:京ICP备15050077号-2
地址: 北京市海淀区万泉河路小南庄400号一层 电话: 010-68489866